剛剛,國家藥品監督管理局醫療器械技術審評中心發布《激光定位系統產品注冊審查指導原則(征求意見稿)》,內容如下:
激光定位系統產品注冊審查指導原則
(征求意見稿)
本指導原則旨在指導注冊申請人對激光定位系統注冊申報資料的準備及撰寫,同時也為技術審評部門審評注冊申報資料提供參考。
本指導原則是激光定位系統的一般要求,申請人應依據產品的具體特性確定其中的內容是否適用。若不適用,需具體闡述其理由及相應的科學依據,并依據具體的產品特性對注冊申報資料的內容進行充實和細化。
本指導原則是供注冊申請人和技術審評人員使用的指導性文件,但不包括注冊審批所涉及的行政事項,亦不作為法規強制執行,應在遵循相關法規的前提下使用本指導原則。如果有能夠滿足相關法規要求的其他方法,也可以采用,但是需要提供詳細的研究資料和驗證資料。
本指導原則是在現行法規和標準體系以及當前認知水平下制定的,隨著法規和標準的不斷完善,以及科學技術的不斷發展,相關內容也將適時進行調整。
一、適用范圍
本指導原則適用于與不同類型放射治療及定位設備(例如X射線計算機體層攝影設備(CT)、正電子發射斷層成像設備、伽瑪射束遠距離治療機、醫用電子加速器、放射治療模擬系統、放射治療CT模擬機、放射治療MRI模擬機等)配套使用,用于在患者皮膚上、患者固定裝置及立體定向框架等配準裝置上投射出位置參考標記,以便放射治療時對患者進行定位的外置激光定位系統。按現行《醫療器械分類目錄》,該類產品分類編碼為05-04-06,管理類別為Ⅱ類。
二、注冊審查要點
(一)監管信息
明確申請表中產品名稱、管理類別、分類編碼、型號規格、產品組成等信息。
1.產品名稱
產品命名需符合《醫療器械通用名稱命名規則》《放射治療器械通用名稱命名指導原則》的要求,建議使用醫療器械分類目錄和國家標準、行業標準上的通用名稱。如放射治療激光定位系統、激光定位系統等。
2.注冊單元劃分
注冊單元劃分應符合《醫療器械注冊單元劃分指導原則》的要求,原則上以產品的技術原理、結構組成、性能指標和適用范圍為劃分依據。主要性能指標不能覆蓋、有較大差異的,應考慮劃分不同注冊單元,如參照的坐標系不同,直角坐標系與球坐標系建議劃分為不同注冊單元。為滿足磁共振兼容性導致產品的結構、主要部件差異較大,建議劃分為不同注冊單元。若移動式和固定式產品在性能指標方面無較大差異,原則上可以劃分為同一注冊單元。
(二)綜述資料
1.產品描述
1.1器械及操作原理描述
申請人應當根據擬申報產品的具體特征詳細說明產品工作原理、作用機理(如適用)、結構及組成、組成部件的功能(應包含激光器的類型、激光顏色及波長、投射和移動方式、激光最大輸出功率、激光光源移動速度、軟件功能(如適用)等)、產品圖示(應包含關鍵部件的圖示(如爆炸圖、三視圖)、標識、接口等細節)、使用方法(應結合圖示對激光定位系統的完整定位過程進行描述)、以及區別于其他同類產品的特征等內容。
1.1.1工作原理
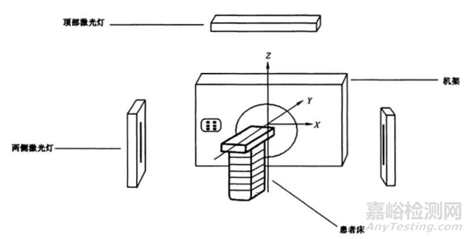
激光定位系統采用右手直角坐標系,使用不高于2M類的二極管微激光器件,可投射出線寬不大于1mm的清晰、明亮的紅色、綠色或藍色激光線。安裝在X、Y、Z方位的激光燈組在接收到影像坐標后,通過手動或者遙控調節,可分別投射出矢狀面、冠狀面和橫斷面,并在患者體表兩側及上表面顯示出“十”字標記點,以便放射治療時對患者進行定位。
圖1 激光燈投射示意圖
1.1.2結構組成
激光定位系統通常由電源控制盒(如有)、多個固定式或移動式激光燈、激光移動軌道、軟件、遙控器或控制裝置(如有)等組成。申請人應根據自身產品特點對結構組成進行描述。
圖2 激光定位系統結構示意圖
注:上述示意圖僅供參考,具體產品結構組成和圖示應根據實際產品確定。
1.1.3產品及其組成部件的功能。應包含電源控制盒/柜的尺寸、電氣參數等;電機的性能參數、廠家等信息;說明激光器的類型、激光顏色及波長、投射和移動方式、激光最大輸出功率、激光光源移動速度、軟件功能(如適用)等,可以采用圖示結合文字描述的形式給予明確說明。
1.1.4使用方法:應結合圖示對激光定位系統的完整定位過程進行描述。
1.2型號規格
對于存在多種型號規格的產品,應當明確各型號規格的區別。建議采用對比表或帶有說明性文字的圖片、圖表,描述各種型號規格的組成、功能、產品特征和技術參數等內容。
1.3包裝說明
描述產品包裝的組成部分,應分別給出所有產品組成的包裝信息。說明包裝清單和包裝方式,提供包裝圖示。
1.4研發歷程
闡述申請注冊產品的研發背景和目的。如有參考的同類產品或前代產品,應當提供同類產品或前代產品的信息,并說明選擇其作為研發參考的原因。
1.5與同類和/或前代產品的參考和比較
列表比較說明申報產品與同類產品和/或前代產品在工作原理、結構組成、制造材料、性能指標、作用方式,以及適用范圍等方面的異同。
2.適用范圍和禁忌證
2.1適用范圍
產品在醫療機構中用于患者放射治療時的模擬定位/輔助定位。
2.2預期使用環境
需明確設備使用場所和使用環境要求。
設備使用場所包括:醫療機構。
使用環境要求需至少包括:推薦的產品使用的適宜溫度、濕度、大氣壓、光照條件。
2.3禁忌證
無。
(三)非臨床資料
1.產品風險管理資料
申請人應根據GB/T 42062《醫療器械風險管理對醫療器械的應用》說明產品在設計、原材料、生產加工、包裝、運輸、貯存、使用等生命周期內各個環節的安全特征,從生物學危害、環境危害、有關使用的危害、因功能失效、老化及存儲不當引起的危害等方面,對產品進行全面的風險分析,并詳述所采取的風險控制措施及驗證結果,必要時需引用檢測和評價性報告。
提供產品上市前對其風險管理活動進行全面評審所形成的風險管理報告,此報告旨在說明并承諾風險管理計劃已被恰當地實施,并經過驗證后判定綜合剩余風險是可接受的。
風險管理報告一般包括以下內容:
1.1申報產品的風險管理組織。
1.2申報產品的組成。
1.3申報產品符合的安全標準。
1.4申報產品的預期用途,與安全性有關的特征的判定。
1.5對申報產品的可能危害作出判定(見附件)。
1.6對所判定的危害采取的降低風險的控制措施。
1.7對采取控制措施后的剩余風險進行估計和評價。
2.醫療器械安全和性能基本原則清單
說明產品符合《醫療器械安全和性能基本原則清單》各項適用要求所采用的方法,以及證明其符合性的文件。對于不適用的各項要求,應當說明理由。
對于包含在產品注冊申報資料中的文件,應當說明其在申報資料中的具體位置;對于未包含在產品注冊申報資料中的文件,應當注明該證據文件名稱及其在質量管理體系文件中的編號備查。
3.產品技術要求及檢驗報告
3.1申報產品適用標準情況
申報產品應當符合適用的強制性標準。對于強制性行業標準,若申報產品結構特征、預期用途、使用方式等與強制性標準的適用范圍不一致,申請人應當提出不適用強制性標準的說明,并提供經驗證的證明性資料。
3.2產品技術要求
產品技術要求應按照《醫療器械產品技術要求編寫指導原則》的規定編制。本條款給出需要考慮的產品主要技術指標,如有其他指標,注冊申請人結合相應的標準和自身的技術能力,予以明確。如不采用以下條款(包括國家標準、行業標準要求),應當說明理由。
常見的技術指標包括以下幾點(不限于此):
3.2.1產品型號規格及其劃分說明
產品可按結構組成、技術參數、預期用途等劃分為不同型號和規格。若產品有多個型號,應提供型號間的主要差異對比表。若含有軟件,應按照《醫療器械軟件注冊技術審查指導原則(2022年修訂版)》的要求,明確軟件名稱、型號規格、發布版本、版本命名規則和軟件運行環境等。產品性能指標包括但不限于以下內容:
3.2.2性能指標
產品性能指標應不低于YY/T 1537《放射治療用激光定位系統性能和試驗方法》行業標準和適用的國家標準中適用條款的要求。如有不適用條款,申請人需在申報資料中說明理由,并提供充分證據證明相關的風險得到有效的控制。
3.2.2.1外觀
3.2.2.2激光分類
3.2.2.3激光定位線寬度
3.2.2.4激光定位線長度
3.2.2.5激光定位線直線度
3.2.2.6激光十字定位線的垂直度(如適用)
3.2.2.7定位準確性
3.2.2.8激光系統移動范圍
3.2.2.9軟件功能(如適用)
3.2.2.10網絡安全(如適用)
3.2.2.11MRI兼容性(如適用)
3.2.3激光安全要求
應符合GB 7247.1《激光產品的安全第1部分:設備分類、要求》的要求。
3.2.4電氣安全要求
應符合GB 9706.1《醫用電氣設備第1部分:基本安全和基本性能的通用要求》的要求。
3.2.5電磁兼容性要求
應符合YY 9706.102《醫用電氣設備 第1-2部分:基本安全和基本性能的通用要求 并列標準:電磁兼容 要求和試驗》的要求。
3.3產品檢驗報告
申請人應當按照產品技術要求進行檢驗,并提交檢驗報告。同時應說明檢驗用型號規格的典型性。
典型性原則應是同一注冊單元內能夠代表本注冊單元內其他型號規格安全性和有效性的產品。應考慮功能最齊全、結構最復雜、風險最高的產品。如果檢測一個型號規格不能覆蓋其他型號規格的全部性能功能、安全指標,則可對不能覆蓋其他型號規格的差異部分進行檢測。
4.研究資料
根據申報產品適用范圍和技術特征,提供非臨床研究綜述,逐項描述所開展的研究,概述研究方法和研究結論。根據非臨床研究綜述,提供相應的研究資料,各項研究可通過文獻研究、實驗室研究、模型研究等方式開展,一般應當包含研究方案、研究報告。采用建模研究的,應當提供產品建模研究資料。
4.1產品性能研究
4.1.1應當提供產品物理和/或機械性能指標的確定依據、設計輸入來源以及臨床意義,所采用的標準或方法、采用的原因及理論基礎。
4.1.2注冊申請人應結合產品工作原理及適用范圍,確定申報產品結構組成或各主要元器件功能性指標并提供詳細的研究資料,例如電源控制盒/柜控制功能、遙控器控制功能、數據傳輸的研究資料、電機選型及其性能的驗證資料等。
4.2電氣系統安全性研究
應當提供電氣安全性、機械和環境保護以及電磁兼容性的研究資料,說明適用的標準以及開展的研究。
目前與本產品相關的標準包括:GB 9706.1《醫用電氣設備 第1部分:基本安全和基本性能的通用要求》,YY 9706.102《醫用電氣設備 第1-2部分:基本安全和基本性能的通用要求 并列標準:電磁兼容 要求和試驗》和GB 7247.1《激光產品的安全第1部分:設備分類、要求》。
4.3軟件研究(若適用)
應按照《醫療器械軟件注冊技術審查指導原則(2022年修訂版)》的要求提交軟件描述文檔。如產品具有網絡連接功能方式用以進行電子數據交換、遠程訪問與控制或用戶訪問的,需要按照《醫療器械網絡安全注冊技術審查指導原則》的要求提交網絡安全描述文檔。
4.4生物相容性評價研究(若適用)
對產品結構組成中與患者接觸部分的生物相容性進行評價。生物相容性評價可根據GB/T 16886.1和《關于印發醫療器械生物學評價和審評指南的通知》的要求進行。生物相容性評價研究資料應當包括:生物相容性評價的依據和方法;產品所用材料的描述及與人體接觸的性質;實施或豁免生物學試驗的理由和論證;對于現有數據或試驗結果的評價。
4.5清洗消毒滅菌工藝研究(若適用)
終端用戶滅菌/消毒:應當明確推薦的消毒工藝(方法和參數)以及所推薦消毒方法確定的依據。
4.6證明產品安全性、有效性的其他研究資料。
根據產品的具體特性,需提供的其他研究資料。若產品含有其他附件,應提供相應的性能研究資料。
5.穩定性研究
5.1使用穩定性
應依據《有源醫療器械使用期限注冊技術審查指導原則》要求,提供產品使用期限分析評價報告。
應根據自身產品臨床應用和產品設計情況,確定出產品的關鍵部件和可更換部件。應明確在預期使用條件下關鍵部件的使用期限,及可更換部件的定期保養維護時間和更換頻次,且應提供確定使用壽命和更換頻次的依據。
5.2運輸穩定性
應當提供運輸穩定性和包裝研究資料,證明在生產企業規定的運輸條件下,運輸過程中的環境條件(例如:震動、振動、溫度和濕度的波動)不會對醫療器械的特性和性能造成不利影響,可參考GB/T 14710《醫用電器環境要求及試驗方法》的要求進行研究。注冊申請人應結合聲稱的儲運條件開展包裝和環境試驗研究,并論述研究設置的合理性。應在申請人所聲稱的儲運條件下進行性能測試,證明運輸和環境測試后產品能夠保持其完整性和功能性。
6.其他資料
申請人應按照《列入免于臨床評價醫療器械目錄產品對比說明技術指導原則》,從基本原理、結構組成、性能要求、適用部位、預期用途等方面,證明產品的安全有效性。申報產品應與《目錄》中已獲準境內注冊醫療器械應具有相同或類似的適用范圍。若經對比,存在其他差異的,還應提交差異部分對安全有效性影響的分析研究資料。
(四)臨床評價資料
對于符合《免于臨床評價醫療器械目錄》(以下簡稱《目錄》)下分類編碼為05-04-06的“放射治療激光定位系統”,免于進行臨床評價,無需提供臨床評價資料。因此一般不涉及臨床評價資料。對于《目錄》以外的產品,應按照《醫療器械臨床評價技術指導原則》的要求,提供相應的臨床評價資料。
(五)產品說明書和標簽樣稿
產品說明書和標簽的編寫應符合《醫療器械說明書和標簽管理規定》、YY/T 1537和相關法規、規范性文件、強制性標準的要求。同時還應注意以下內容:
1.產品的結構組成及性能指標應與產品技術要求內容一致;
2.產品須有經過培訓合格的專業人員執行;
3.產品安裝要求,包括房間空間、地面條件、電源條件等;
4.產品校準、或與影像和放療設備配準的方法及步驟;
5.產品維護保養的項目內容、周期及解決方法;產品常見故障和解決方法。
(六)質量管理體系文件
產品的質量管理體系文件應符合《醫療器械生產質量管理規范》的要求,并按《醫療器械注冊申報資料要求及說明》提交資料。
應對產品總體生產工藝作簡要說明。生產加工工藝可采用流程圖的形式,注明關鍵工藝和特殊工藝,說明過程控制點。應說明外包生產、重要組件或原材料的生產、關鍵工藝過程等情況。
生產工藝應已通過驗證,能夠生產出質量穩定、安全有效的產品,在注冊質量管理體系核查中,對此項內容進行核查。關鍵工序、特殊過程應編制并執行工藝規程或作業指導書。
三、參考文獻
[1]中華人民共和國國務院.醫療器械監督管理條例:中華人民共和國國務院令第739號[Z].
[2]國家市場監督管理總局.醫療器械注冊與備案管理辦法:國家市場監督管理總局令第47號[Z].
[3]國家藥品監督管理局.醫療器械注冊申報資料要求和批準證明文件格式:國家藥監局公告2021年第121號[Z].
[4]國家藥品監督管理局.醫療器械注冊自檢管理規定:國家藥品監督管理局公告2021年第126號[Z].
[5]國家食品藥品監督管理局.醫療器械說明書和標簽管理規定:國家食品藥品監督管理總局令第6號[Z].
[6]國家食品藥品監督管理局.醫療器械分類目錄:國家食品藥品監督管理總局公告2017年第104號[Z].
[7]國家藥品監督管理局.醫療器械通用名稱命名指導原則:國家藥監局通告2019第99號[Z].
[8]國家藥品監督管理局.有源手術器械通用名稱命名指導原則:國家食品藥品監督管理局通告2022年第26號[Z].
[9]國家藥品監督管理局. 國家藥監局關于發布醫用康復器械通用名稱命名指導原則等6項指導原則的通告2021年第48號[Z].
[10]國家藥品監督管理局.醫療器械產品技術要求編寫指導原則:國家藥監局通告2022年第8號[Z].
[11]國家藥品監督管理局醫療器械審評中心.醫療器械軟件注冊審查指導原則(2022年修訂版):國家藥監局器審中心通告2022年第9號[Z].
[12]國家食品藥品監督管理局.醫療器械安全和性能基本原則:國家藥品監督管理局通告2020年第18號[Z].
[13]國家食品藥品監督管理局.醫療器械注冊單元劃分指導原則:國家食品藥品監督管理總局通告2017年第187號[Z].
[14]國家藥品監督管理局.免于臨床評價醫療器械目錄:國家藥監局通告2023年第33號[Z].
[15]國家藥品監督管理局.列入免于臨床評價醫療器械目錄產品對比說明技術指導原則:國家藥監局通告2021年第73號[Z].
[16]國家藥品監督管理局.有源醫療器械使用期限注冊技術審查指導原則:國家藥品監督管理局通告2019年第23號[Z].
[17]國家藥品監督管理局醫療器械審評中心.醫療器械網絡安全注冊審查指導原則(2022年修訂版):國家藥監局器審中心通告2022年第7號[Z].
[18]GB 9706.1,醫用電氣設備 第1部分:基本安全和基本性能的通用要求[S].
[19]GB/T 14710,醫用電器環境要求及試驗方法[S].
[20]GB/T 16886.1,醫療器械生物學評價 第1部分:風險管理過程中的評價與試驗[S].
[21]GB/T 16886.5,醫療器械生物學評價 第5部分:體外細胞毒性試驗[S].
[22]GB/T 16886.10,醫療器械生物學評價 第10部分:刺激與皮膚致敏試驗[S].
[23]GB/T 16886.12,醫療器械生物學評價 第12部分:樣品制備與參照材料[S].
[24]YY 9706.102,醫用電氣設備 第1-2部分:基本安全和基本性能的通用要求 并列標準:電磁兼容 要求和試驗[S].
[25]YY 9706.108,醫用電氣設備 第1-8部分:基本安全和基本性能的通用要求 并列標準:通用要求,醫用電氣設備和醫用電氣系統中報警系統的測試和指南[S].
[26]GB/T 42062,醫療器械風險管理對醫療器械的應用[S].
[27]YY/T 1537,放射治療用激光定位系統性能和試驗方法[S].
附件
風險管理文檔
下表所列為常見可預見事件序列/可能的傷害示例,需關注:
表1 常見可預見事件序列/可能的傷害示例
危險
|
可預見事件序列
|
可能的傷害
|
信息
危險
|
說明書中未詳細描述軟件的操作方法。
|
可能導致設備無法被正確使用。
|
對操作者的培訓不充分,儀器校準由缺乏技術培訓的人員進行。
|
可能損壞設備、使用者電擊危險、傷害患者。
|
未按規定編制產品說明書,使用說明不明確。
|
可能縮短設備的使用壽命或影響激光的質量;可能縮短設備的壽命期;可能損壞設備、使用者電擊危險、傷害患者。
|
無眼睛防護標志;無類別標志;符號、層次、顏色的準確性不夠。
|
對患者或操作者的眼睛等部位造成傷害。
|
操作
危險
|
運動零件的失效。
|
設備無法正常使用,對用戶造成不便。
|
患者非預期移動。
|
導致定位不準確。
|
操作人員人為輸入超限坐標值。
|
設備非預期運動,導致設備故障,對用戶造成不便。
|
不正確的校準、或與影像和放療設備配準操作。
|
坐標體系失準,患者定位不準確。
|
數據錄入錯誤。
|
設備非預期運動,導致設備故障,對用戶造成不便。
|
數據格式錯誤。
|
設備無法響應。
|
使用者不遵守使用規則使用。
|
導致定位不準確。
|
能量
危險
|
網電源漏電。
|
導致人體觸電。
|
產品外殼絕緣/隔離不夠或使用過程中線材老化漏電。
|
引起過量漏電流,導致人體觸電。
|
產品對地絕緣/隔離不夠或使用過程中線材老化漏電。
|
引起過量漏電流,導致人體觸電。
|
產品對患者絕緣/隔離不夠。
|
漏電流超出允許值,導致人體觸電。
|
抗電場干擾能力差、特定環境下工作不正常,或干擾其他設備正常工作。
|
設備無法正常使用或定位不準確。
|
激光的熱危害。
|
患者/使用者視網膜受損。
|
運動部件安裝不牢固或者未進行維護,墜落。
|
設備無法正常使用、砸傷患者/使用者。
|
